Đề thi thử tốt nghiệp THPT 2021 môn Toán trường Yên Dũng 2 lần 1

Đề thi thử tốt nghiệp THPT 2021 môn Toán có đáp án lần 1 của trường THPT Yên Dũng 2 là một tài liệu giúp em ôn luyện thi THPTQG từ hôm nay.

Câu 1. Xét các số thực dương a và b thỏa mãn $\log _{5}\left(5^{a} .25^{b}\right)=5^{\log _{5} a+\log _{5} b+1} .$ Mệnh đề nào dưới đây đúng?
Câu 2. Cho hình nón có góc ở đình bằng $60^{\circ},$ bán kính đáy bằng a . Diện tích xung quanh của hình nón bằng
Câu 3. Cho hàm số $y=\frac{a x+b}{c x+d}$ có đồ thị như hình vẽ.
Cho hàm số y=fraca x+bc x+d có đồ thị như hình vẽ.Khẳng định nào sau đây đúng? hình ảnh
Khẳng định nào sau đây đúng?
Câu 4. Khối chóp tứ giác S.ABCD có đáy ABCD là hình vuông cạnh 6 a, tam giác SAB đều và nằm trong mặt phẳng vuông góc với đáy có thể tích bằng
Câu 5. Thiết diện qua trục của một hình nón là tam giác đều cạnh 2a. Đường cao của hình nón là
Câu 6. Cho hình nón có đường kính đáy bằng 4 . Biết rằng khi cắt hình nón đã cho bởi một mặt phẳng qua trục, thiết diện thu được là một tam giác đều. Diện tích toàn phần của hình nón đã cho bằng
Câu 7. Số giao điểm của đồ thị $y=x^{3}-2 x^{2}+3 x-2$ và trục hoành là
Câu 8. Cho khối chóp có thể tích $V=36\left(\mathrm{~cm}^{3}\right)$ và diện tích mặt đáy $B=6\left(\mathrm{~cm}^{2}\right) .$ Chiều cao của khối chóp là
Câu 9. Đồ thị hàm số $y=\frac{\sqrt{3 x^{2}+2}}{\sqrt{2 x+1}-x}$ có tất cả bao nhiêu tiệm cận.
Câu 10. Trong các hình sau, có bao nhiêu hình được gọi là hình đa diện ?
Trong các hình sau, có bao nhiêu hình được gọi là hình đa diện ? B. 4 Trắc hình ảnh
Câu 11. Cho hàm số y = f (x) có bảng biến thiên như sau
Cho hàm số y =  f (x) có bảng biến thiên như sauHàm số đã cho đồng biến trên hình ảnh
Hàm số đã cho đồng biến trên khoảng nào dưới đây?
Câu 12. Trong khai triển $a+b^{n}$, số hạng tổng quát của khai triển là
Câu 13. Tìm số hạng đầu tiên của cấp số nhân $\left(u_{n}\right)$ với công bội $q=2, u_{8}=384$.
Câu 14. Cho hàm số f(x) có đạo hàm trên $\mathbb{R}$ là hàm số $f'(x)$. Biết đồ thị hàm số $f'(x)$ được cho như hình vẽ. Hàm số f(x) nghịch biến trên khoảng
Cho hàm số f(x) có đạo hàm trên mathbbR là hàm số f
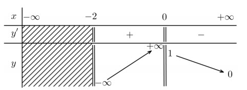
Câu 15. Cho hàm số y = f (x) có bảng biến thiên như hình vẽ. Hỏi đồ thị hàm số đã cho có bao nhiêu đường tiệm cận?
Cho hàm số y =  f (x) có bảng biến thiên như hình vẽ. Hỏi đồ thị hàm số đã cho hình ảnh
Câu 16. Trong khai triển $(1-x)^{11},$ hệ số của số hạng chứa $x^{3}$ là
Câu 17. Bảng biến thiên dưới đây là của hàm số nào?
Bảng biến thiên dưới đây là của hàm số nào? C. y=fracx+1x-2 Trắc nghiệm môn Toán hình ảnh
Câu 18. Cho cấp số cộng $\left(u_{n}\right)$ với $u_{n}=4 n-3 .$ Tìm công sai d của cấp số cộng.
Câu 19. Cho hàm số $y=f(x)=a x^{3}+b x^{2}+c x+d$ có đồ thị như hình vẽ. Tìm tập hợp tất cả các giá trị thực của tham số m để phương trình $f\left(\sin ^{2} x\right)=m$ có nghiệm.
Cho hàm số y=f(x)=a x3+b x2+c x+d có đồ thị như hình vẽ. Tìm tập hợp tất cả các hình ảnh
Câu 20. Chọn ngẫu nhiên 4 đỉnh của một đa giác đều 24 đỉnh. Tìm xác suất để chọn được 4 đình là 4 đỉnh của một hình vuông?
Câu 21. Cho tứ diện O.ABC với OA, O B, OC đôi một vuông góc và OA=3 a, OB = OC = 2a. Thể tích V của khối tứ diện đó là
Câu 22. Tổng diện tích tất cả các mặt của hình bát diện đều cạnh a bằng
Câu 23. Cho lăng trụ đứng ABC.A'B'C' có đáy ABC là tam giác với A B=a, AC =2 a và $B A C=120^{\circ}$, $A A'=2 a \sqrt{5}$. Tính thể tích V của khối lăng trụ đã cho.
Câu 24. Tập xác định của hàm số $y=x^{\sqrt{3}}$ là
Câu 25. Đặt $a=\log _{3} 4,$ khi đó $\log _{16} 81$ bằng
Câu 26. Một lớp học có 30 bạn học sinh, trong đó có 3 cán sự lớp. Hỏi có bao nhiêu cách cử 4 bạn đi dự đại hội đoàn trường sao cho trong 4 học sinh đó có ít nhất một cán sự lớp
Câu 27. Cho hàm số f(x) có bảng biến thiên như sau. Mệnh đề nào dưới đây là đúng?
Cho hàm số f(x) có bảng biến thiên như sau. Mệnh đề nào dưới đây là đúng? A. Hàm hình ảnh
Câu 28. Cho hàm số có bảng biến thiên như hình dưới đây. Khẳng định nào sau đây là đúng?
Cho hàm số có bảng biến thiên như hình dưới đây. Khẳng định nào sau đây là đúng? hình ảnh
Câu 29. Số điểm cực trị của hàm số $y=2 x^{3}-6 x+3$ là
Câu 30. Cho hàm số y = f(x) xác định, liên tục trên $\mathbb{R}$ và có bảng biến thiên như hình bên dưới
Cho hàm số y = f(x) xác định, liên tục trên mathbbR và có bảng biến thiên như hình ảnh
Số nghiệm thực của phương trình 3f(x) + 2 = 0 là
Câu 31. Cho hàm số $y=\frac{5 x+9}{x-1}$ khẳng định nào sau đây là đúng?
Câu 32. Tính giá trị nhỏ nhất của hàm số $y=x+\frac{4}{x^{2}}$ trên khoảng $(0 ;+\infty)$.
Câu 33. Rút gọn biểu thức $P=x^{\frac{1}{3}} \cdot \sqrt[6]{x}$ với $x>0$ ta được:
Câu 34. Đường cong trong hình bên là đồ thị của hàm số nào?
Đường cong trong hình bên là đồ thị của hàm số nào? A. y=-x3-3 x2+2 Trắc nghiệm hình ảnh
Câu 35. Cho hàm số f(x) có đạo hàm $f'(x)=x(x-2)^{2}(3 x-2), \forall x \in \mathbb{R}$. Số điểm cực trị của hàm số f(x) bằng
Câu 36. Có bao nhiêu giá trị nguyên của tham số m để đồ thị hàm số $y=x^{3}-8 x^{2}+\left(m^{2}+5\right) x-2 m^{2}+14$ có hai điểm cực trị nằm về hai phía của trục Ox
Câu 37. Một đề thi trắc nghiệm gồm 50 câu, mỗi câu có 4 phương án trả lời trong đó chỉ có 1 phương án đúng, mỗi câu trả lời đúng được 0,2 điểm. Một thí sinh làm bài bằng cách chọn ngẫu nhiên 1 trong 4 phương án ở mỗi câu. Tính xác suất đề thí sinh đó được 6 điểm.
Câu 38. Cho hình lăng trụ ABC.A'B'C' có đáy là tam vuông cân tại A. Hình chiếu vuông góc của điểm A' lên mặt phẳng (ABC) trùng với trọng tâm tam giác ABC. Biết khoảng cách giữa hai đường thẳng AA' và BC bằng $\frac{\sqrt{17}}{6} a, \quad$ cạnh $\quad$ bên AA' bằng 2a . Tính theo a thể tích V của khối lăng trụ $A B C \cdot A' B' C'$ biết $A B
Câu 39. Cho hình chóp S.ABCD có đáy là hình vuông và có mặt phẳng (SAB) vuông góc với mặt phẳng đáy, tam giác SAB là tam giác đều. Gọi I và E lần lượt là trung điểm của cạnh AB và BC ; H là hình chiếu vuông góc của I lên cạnh SC. Khẳng định nào sau đây sai?
Câu 40. Cho hình chóp S.ABCD có đáy ABCD là hình chữ nhật, AB=3, BC=4, SA=2 . Tam giác SAC nằm trong mặt phẳng vuông góc với đáy và có diện tích bằng 4. Côsin của góc giữa hai mặt phẳng (SAB) và (SAC) bằng
Câu 41. Cho hình lăng trụ đứng ABC.A'B'C' có đáy là tam giác vuông và $AB=BC=a, A A'=a \sqrt{2}$, M là trung điểm của BC. Tính khoảng cách d của hai đường thẳng AM và B'C.
Câu 42. Cho hai số thực x, y thay đổi thỏa mãn điều kiện $x^{2}+y^{2}=2 .$ Gọi $M, m$ lần lượt là giá trị lớn nhất và nhỏ nhất của biểu thức $P=2\left(x^{3}+y^{3}\right)-3 x y$. Giá trị của M + n bằng
Câu 43. Cho hình tứ diện ABCD có AB, AC, AD đôi một vuông góc AB=6 a, A C=8 a, A D=12 a, với $a>0, a \in \mathbb{R}$. Gọi E, F tương ứng là trung điểm của hai cạnh BC, BD. Tính khoảng cách d từ điểm B đến mặt phẳng (AEF) theo a.
Câu 44. Cho hàm số $f(x),$ hàm số $y=f'(x)$ liên tục trên $\mathbb{R}$ và có đồ thị như hình vẽ bên:
Cho hàm số f(x), hàm số y=f
Bất phương trình $f(x)<2 x+m(m$ là tham số thực) nghiệm đúng với mọi $x \in(0 ; 2)$ khi và chỉ khi
Câu 45. Đồ thị hàm số $(C): y=\frac{2 x+1}{x+1}$ cắt đường thẳng d: y=x+m tại hai điểm phân biệt A, B thỏa mãn tam giác OAB vuông tại O khi $m=\frac{a}{b} .$ Biết a, b là nguyên dương; $\frac{a}{b}$ tối giản. Tinh S=a+b.
Câu 46. Tim tất cả các giá trị thực của tham số m để hàm số
Câu 47. Cho hình chóp tứ giác đều S.ABCD có đáy ABCD là hình vuông cạnh a, cạnh bên tạo với đáy một góc 60 độ. Gọi G là trọng tâm của tam giác SBD. Mặt phẳng α đi qua A, G và song song với BD cắt SB tại E, cắt SC tại M và cắt SD tại F. Tính thể tích V khối chóp S.AEMF.
Câu 48. Gọi S là tập hợp các giá trị nguyên thuộc đoạn [-10 ; 10] của m để hàm số $y=x^{3}-3(2 m+1) x^{2}+(12m+5) x+2$ đồng biến trên khoảng $(2 ;+\infty) .$ Số phần tử của S bằng
Câu 49. Gọi S là tập hợp tất cả các giá trị thực của tham số m sao cho giá trị nhỏ nhất của hàm số $f(x)=\frac{34}{\sqrt{\left(x^{3}-3 x+2 m\right)^{2}}+1}$ trên đoạn $[0 ; 3] bằng 2 . Tổng tất cả các phần từ của S bằng
Câu 50. Cho hàm số $y=f(x)$ xác định trên $\mathbb{R}$. Biết rằng hàm số $y=f'(x)$ có đồ thị như hình vẽ
Cho hàm số y=f(x) xác định trên mathbbR. Biết rằng hàm số y=f
Số điểm cực trị của hàm số $g(x)=f\left(x^{2}-2 x\right)-\left(\frac{x^{4}}{2}-2 x^{3}+x^{2}+2 x+1\right)$ là

đáp án Đề thi thử tốt nghiệp THPT 2021 môn Toán trường Yên Dũng 2 lần 1

Câu Đáp án Câu Đáp án
Câu 1 B Câu 26 A
Câu 2 C Câu 27 A
Câu 3 A Câu 28 B
Câu 4 A Câu 29 B
Câu 5 B Câu 30 A
Câu 6 B Câu 31 B
Câu 7 A Câu 32 C
Câu 8 D Câu 33 C
Câu 9 B Câu 34 A
Câu 10 B Câu 35 D
Câu 11 A Câu 36 D
Câu 12 B Câu 37 C
Câu 13 D Câu 38 A
Câu 14 D Câu 39 D
Câu 15 A Câu 40 D
Câu 16 D Câu 41 B
Câu 17 C Câu 42 B
Câu 18 A Câu 43 A
Câu 19 D Câu 44 C
Câu 20 A Câu 45 A
Câu 21 C Câu 46 A
Câu 22 B Câu 47 A
Câu 23 C Câu 48 C
Câu 24 D Câu 49 B
Câu 25 C Câu 50 C

Chu Huyền (Tổng hợp)

Các đề khác

X